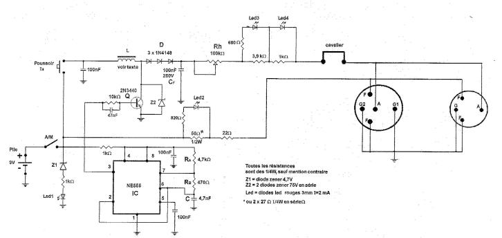
Donné par un ami, ce kit conçu par Daniel Maignan permet de tester les lampes « batteries » sans la présence du secteur EDF, une pile de 9 Volts, assure l’alimentation.
Un petit convertisseur génère la haute tension de 50 volts en charge.
Une LED permet le test du circuit filament, deux autres contrôlent le débit anodique, la première indique un courante < 2 mA, la seconde s’allume au delà.
Un galvanomètre peut être ajouté, il permettra une mesure plus précise.
L’alimentation du filament se fait au travers de résistances, pour chuter la tension de 9 à 4 Volts.
En dérivation sur une des deux résistances, se trouve la LED indiquant le bon fonctionnement de ce dernier.
Petit inconvénient constaté, la tension n’est pas la même, en fonction des différentes consommations de filaments.
Ceci m’a conduit à remplacer les deux résistances par un circuit régulateur (LM317) qui me fourni une tension stable de 4 Volts et également indépendante de la baisse de vitalité de la pile.
Par contre, je ne pouvais plus constater par la LED la continuité du filament.
C’est pourquoi j’ai laissé la résistance de 56 Ohms en série avec le régulateur, un interrupteur poussoir, contact fermé au repos shunte la résistance et s’ouvre lorsqu’on le sollicite afin de pouvoir vérifier le bon fonctionnement du filament.
Le kit ne comprenant pas de circuit imprimé, le câblage se fait sur de la plaquette perforée.
J’ai donc réalisé le schéma d’implantation des composants.
Ce schéma ne comprend pas les modifications apportées par la suite dans le circuit
filament.

Schéma fonctionnel

Schéma d’implantation

Test du filament

Test du débit anodique

l’envers du décor

Réalisation terminée